EDI超纯水系统为何需要清洗EDI?
文章出处:admin 人气:发表时间:2020-04-10
在许多的超纯水系统中,EDI超纯水系统是功能性较强,费用也相对比较高的超纯水系统,在这次疫情中许多的制药企业采用的就是EDI超纯水系统,电去离子要比一般的树脂去除离子能力强而且也不会附带对人体有影响的离子在水中,对人体比较好。

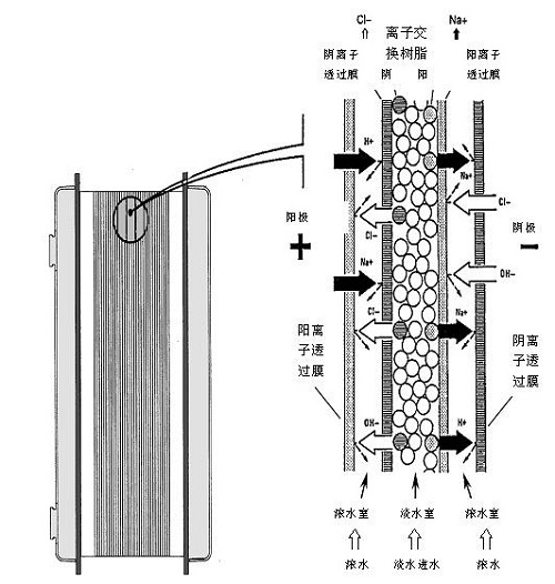
EDI超纯水系统是将电渗析技术与离子交换技术有机地结合在一起的膜分离脱盐技术,具有连续出水和不需要酸碱再生的优点,一般价格比树脂的要高出很多,但是从长远的角度看,EDI费用要比树脂费用少很多,因此许多的于电子、电力、光伏、医药、化工等行业都会选择EDI超纯水系统作为核心净水系统。
在EDI超纯水系统中,由于各个部位的水箱并非是全密封模式,所以很大程度的有细菌、真菌等物质进入水中,而在EDI连续运行的时间中,这些物质会不断的累积在EDI表面,加重EDI处理能力和速率,导致产水速度变慢,加大产水成本,导致EDI 浓水通道和极水通道出现结垢,所以EDI超纯水系统需要每隔一段时间进行设备清理才能保证其作用。
此文关键词:EDI超纯水系统为何需要清洗EDI?
同类文章排行
- 实验室超纯水机ro和up分别
- 超纯水中有多少溶解氧?
- 实验室用水问题解答
- 实验室超纯水机出水有气
- 余氯含量对超纯水机耗材
- 实验室纯水机产出RO水呈酸
- 超纯水机水质达到18.2ΩM
- RO纯水与EDI超纯水可以相互
- 国产专用实验室超纯水机
- 实验室超纯水仪的工作原
